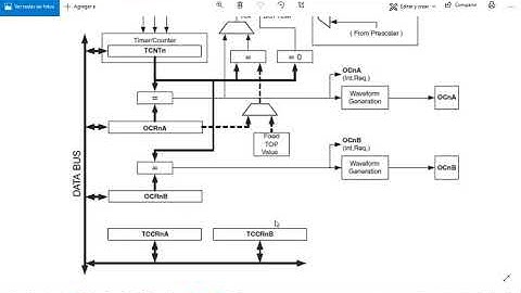
ATmega2560 - Módulo TIMER de 16 Bits (2 / 2) | Dextrónica

Tonton & Download Video Musik Gratis

⬇ DOWNLOAD NOW
Kalau muncul iklan pop-up, tutup lalu klik tombol kembali

Download lagu ATmega2560 - Módulo TIMER de 16 Bits (2 / 2) | Dextrónica secara gratis hanya untuk keperluan promosi. Dukung artis favorit kamu dengan membeli musik original di iTunes atau platform resmi lainnya.